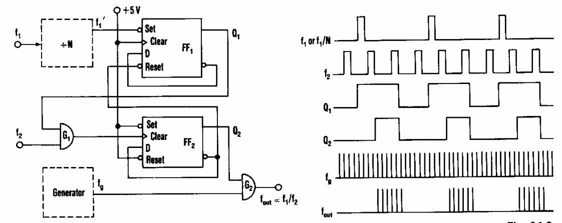
Found in an Electronic Design from the 90s, this circuit produces a signal whose frequency is linearly proportional to the relationship between the frequencies of the input signals. The circuit can act as a shield.
Found in an Electronic Design from the 90s, this circuit produces a signal whose frequency is linearly proportional to the relationship between the frequencies of the input signals. The circuit can act as a shield.