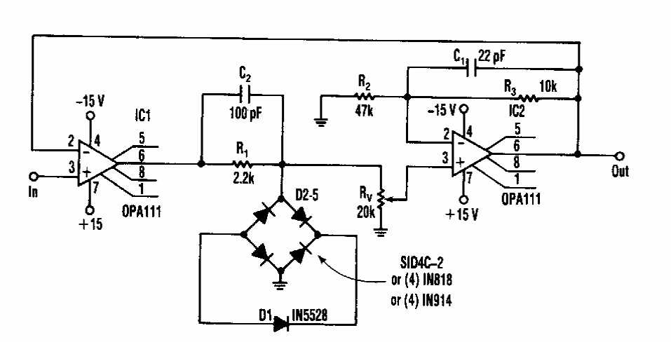
This circuit was found in an old Electronic Design. It makes use of sidacs and operational not very common today. The power supply must be symmetrical.
This circuit uses a common diode as sensor. The output goes from 0 to 10 V with the temperature change in...
April 2017 - Microchip's new PIC18LF66 and PIC18LF66 microcontrollers with 83 instructions, 31...
This circuit can work with almost any JFET. The circuit is from an Electronics Now from April...