Found in Popular Electronics from the 90s, this circuit can be used in tachometers. The integrated circuit is not a common component today.
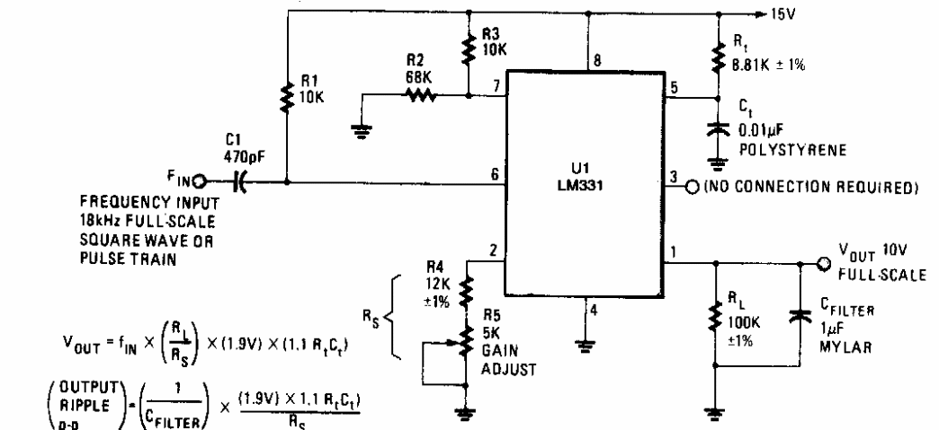
The circuit shown is from National Semiconductor, having been found in the 1994 Linear Application...
Found in an Electronics World of 1968, this circuit is indicated for applications in photography...
August 2016 - It can be obtained from Mouser Electronics the new DC-DC PFM Step-Down XC9272 from...