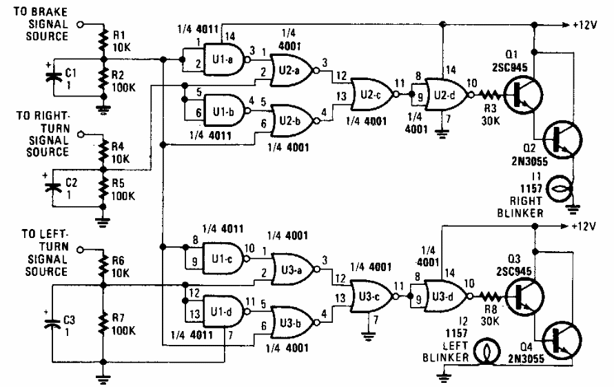
This circuit was found in a Popular Electronics from the 90s applying to common automotive signaling lamps. The circuit can be adapted to LEDs.
Found in a Popular Electronics from the 90s, this circuit can be used as an electrifier. T1 can be...
This project was found in a 1981 documentation. It consists of an interesting audio oscillator that...
This S-meter or signal strength meter, was originally designed for the 80's Regency receiver, but can...