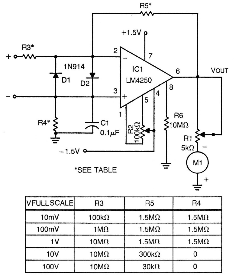
The operational amplifier used in this circuit from a documentation from the 70s is no longer easy to obtain. However, we can assemble the circuit with a more modern operating system such as the 741. The circuit measures voltages in 5 ranges, depending on the components. A selector switch can be added to the circuit to make the selection of the components, according to the table given next to the diagram. The power supply, for amplifiers like the 741, must be symmetrical with voltages between 6 and 12 V. Operational amplifiers that operate with lower voltages can be used. The instrument is a 0-1 mA milliammeter.




