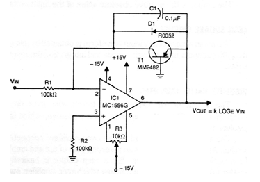
The MC1556 integrated circuit is an operational amplifier from Motorola. The circuit is from a publication from the 70s but can be implemented with modern operational amplifiers and for the transistor a BC558. The diode can be 1N4148. The gain depends on R1 and R2 and the input signal.




