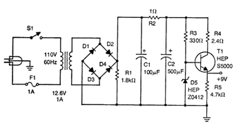
This circuit is from a documentation from the 70s. Thus, the original transistor no longer exists, and the BD135 can be used for currents up to 500 mA. The diodes can be 1N4002 or 1N4004 and the zener diode is 9V. The transformer has a secondary of 500 mA at 1 A. For 1 A of output use the transistor TIP31. The transistor must be mounted on a heat sink. Capacitor C1 can be 470 uF.




