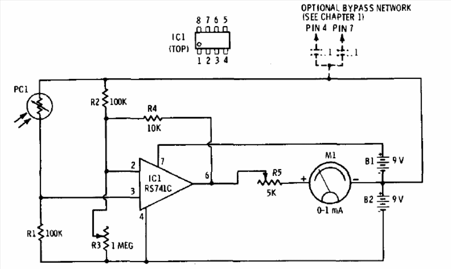
This circuit is from a 1977 Radio Shack manual. The photocell is an LDR and the operational one is a 741. Components with non-standard values can be approximated.
This circuit was found in a 1992 publication. The circuit uses common components and includes the...
This protection circuit for battery chargers was found in an old Elektor. The relay is according to...
This very low frequency amplifier has a gain of 1,000 and was found in a 1967 documentation. The circuit is...