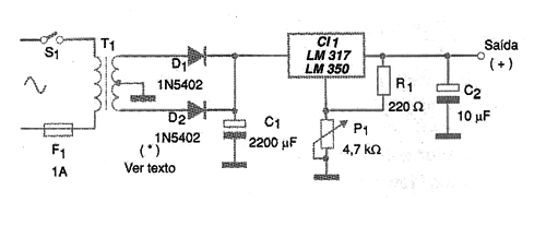
The integrated circuits LM317 (1.5 A) and LM350 (3 A) are adjustable voltage regulators with 3 terminals that can supply output voltages from 1.25 to 37 V. The LM317 has a version with suffix HV that can supply voltages up to 57 V. Using this component, we can design adjustable power supplies with a minimum of external components. To implement a variable power supply with these integrated circuits, simply place a variable resistive divider between the output and the adjustment terminal. As the internal reference zener diode is 1.25 V this is the minimum voltage we get.
Higher voltages will be obtained when the resistive divider adds its voltage to that diode. In the figure we have a typical power supply based on these two integrated circuits. The transformer is chosen so that it has a secondary that provides a voltage at least 2 volts higher than the maximum voltage that is desired at the output. For the filter electrolytic capacitor, it is customary to use at least 1,000 uF for each current ampere desired at the source. Therefore, we suggest 2,200 uF for the LM317 and 4,700 uF for the LM350 A, operating at maximum capacity. The working voltage of this capacitor must be at least 60% higher than the RMS voltage of the secondary of the used transformer. High-current trails should be wide. It is common practice to leave 1 mm wide for each current ampere, in this type of application. Regulatory integrated circuits, for both cases, must be equipped with excellent heat sinks.




