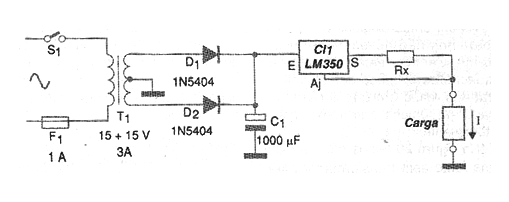
Constant current sources are used in applications such as battery chargers, electrolytic tanks, etc. The source shown in the figure can provide output currents up to 3 A. The intensity of the current in the load depends on Rx and is calculated using the following formula:
I = 1.25 / Rx
The value 1.25 is given by the internal reference zener of the LM150 integrated circuit. The same circuit can be designed for currents up to 1.5 A using the LM317. We remind you of the need to provide the regulating integrated circuit with a good heat sink and adopt wide trails for the conduction of the most intense currents. The transformer must have a secondary with a voltage of at least 2 V greater than the maximum voltage that appears on the load under constant current conditions. Note that the maximum input voltage of the LM350 is 35 V. In common applications such as battery charge, the filtering need not be the best, hence a relatively small capacitor is used for this function. An interesting change in the design is to connect a wire potentiometer with Rx to adjust the current intensity. A 50 ohm potentiometer provides a good range of adjustments.




