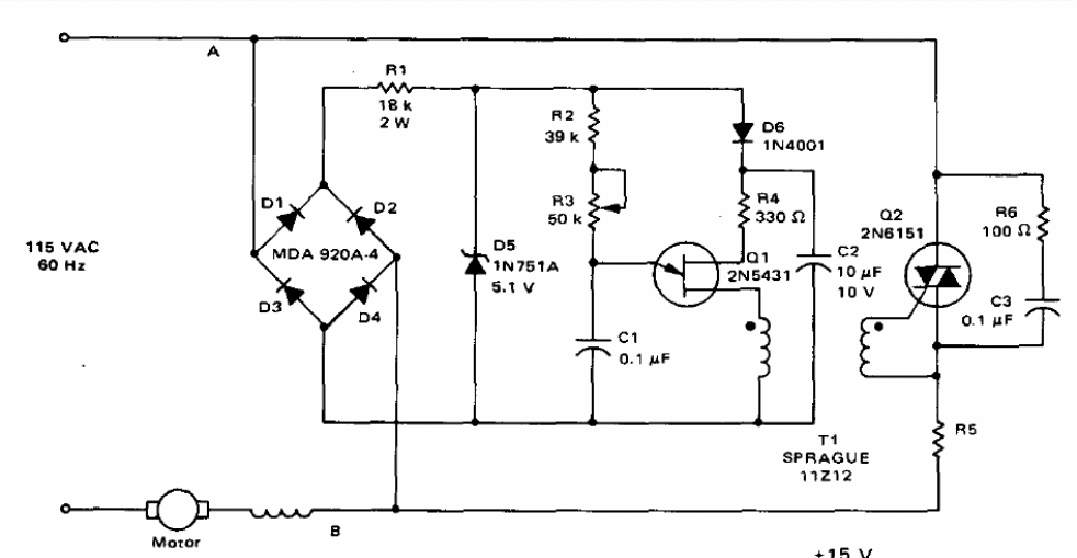
This circuit for the induction motor was found in Motorola's Circuit Applications for the Triac of 1971. The Triac must match the motor and the bridge diodes can be 1N4004. The transformer is pulse type with a 1 to 1 turn ratio.
This circuit for the induction motor was found in Motorola's Circuit Applications for the Triac of 1971. The Triac must match the motor and the bridge diodes can be 1N4004. The transformer is pulse type with a 1 to 1 turn ratio.