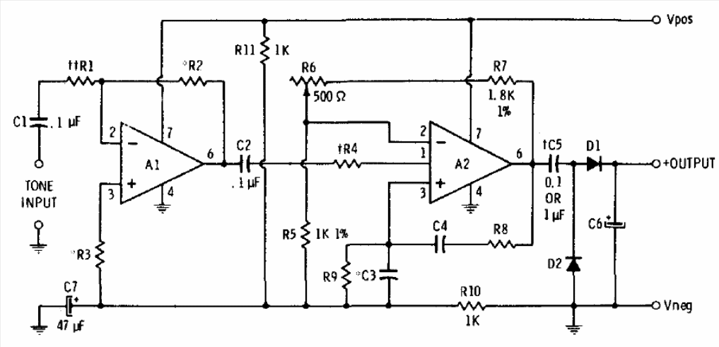
This decoder filter was found in a 1975 documentation. The integrated circuits can be 741. The circuit is used with telephones and must be powered by a symmetrical source. C3, C4, R8 and R9 determine the frequency to be recognized.
This decoder filter was found in a 1975 documentation. The integrated circuits can be 741. The circuit is used with telephones and must be powered by a symmetrical source. C3, C4, R8 and R9 determine the frequency to be recognized.