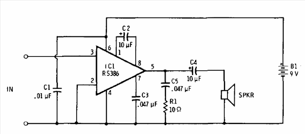
The integrated circuit shown in the figure is nothing more than the LM386 sold by Radio Shack, according to 1977 documentation. Powered by 9 V the circuit provides 250 mW. The circuit can also be powered by 6 V with less power and its gain is 200.
The integrated circuit shown in the figure is nothing more than the LM386 sold by Radio Shack, according to 1977 documentation. Powered by 9 V the circuit provides 250 mW. The circuit can also be powered by 6 V with less power and its gain is 200.