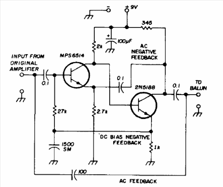
The purpose of this circuit, found in a documentation for radio amateurs in 1974, is to amplify noise in the range of 20 meters for testing antennas. The circuit operates between 1.8 MHz and 39 MHz and has a gain of 10 to 20 dB. The transistors can be BF494.




