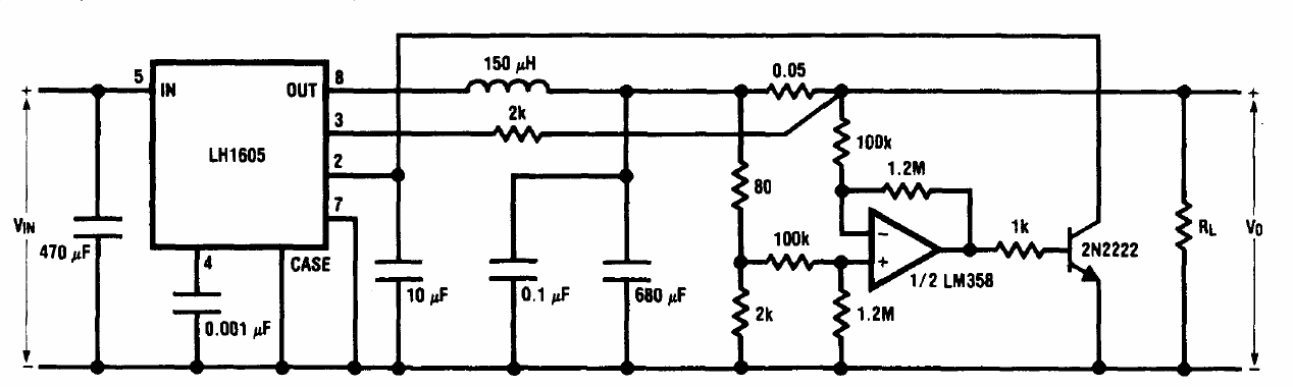
The LH1605 integrated circuit is not a common component today. The circuit was found in the 1994 National Semiconductor Linear Applications Handbook.
This circuit multiplies the input voltage by 3 and can work with up to 12 V input. The current is a few...
This circuit was obtained in a Hands-On Electronics from the 90's. The circuit turns on one LED at...
This telegraph monitor was found in an American documentation for radio amateurs from the 1970s. The...