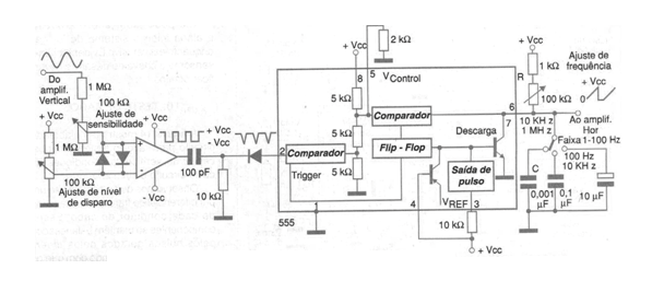
The circuit shown in the figure can be useful for readers who have an oscilloscope that does not have the ability to scan externally triggered by a signal to be observed. The signal applied to the input of the operational amplifier triggers the monostable, switching the internal flip-flop to the 555 and thereby cutting the discharge of the capacitor that is recharged. When the voltage in the capacitor reaches 1/3 of Vdc the circuit trips and the capacitor can discharge. This generates a sawtooth signal in the circuit for use at the oscilloscope's horizontal input. Linearity depends on the RC output circuit. This linearity can be significantly improved if the resistor R is replaced by a constant current source.




