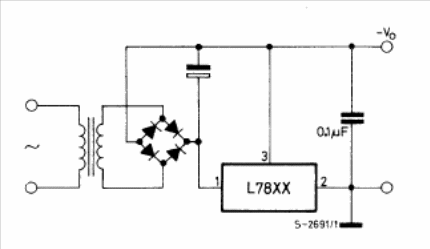
We found this circuit in the 1982 SGS Linear Integrated Circuits manual. The L78xx is equivalent to 78xx and the output voltage depends on xx. The secondary of the transformer must have a voltage slightly higher than xx and the maximum current is 1 A.




