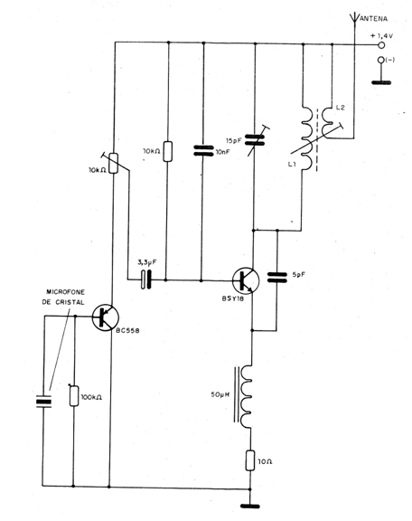
This transmitter emits signals in the FM range, reaching a few meters away. The modulation adjustment is made in P1 and P2 adjusts the oscillation point of the circuit. The antenna must be 20 to 50 cm long and the smaller capacitors are ceramic. Any tunnel diode can be used. L1 and L2 as in the CB14862E project.




