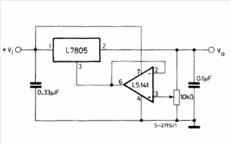
The L7805 is the SGS equivalent of the 7805. The circuit is from the SGS linear integrated circuit manual and the operational amplifier can be a 741. The input voltage must be at least 33 V. The maximum output current is 1 A.

The L7805 is the SGS equivalent of the 7805. The circuit is from the SGS linear integrated circuit manual and the operational amplifier can be a 741. The input voltage must be at least 33 V. The maximum output current is 1 A.
