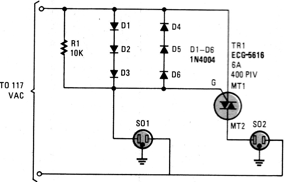
When the equipment powered by the SO1 socket is turned on, the SO2 socket is automatically energized, feeding the equipment connected to it. The diodes must have current according to what is connected to the sockets as well as the Triac. The circuit is from an American publication from 1991 but is still current. For 1N4004 the current is 1 A.




