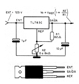
The integrated circuit in question is an adjustable high voltage regulator from Texas Instruments supplied in a TO-220 enclosure, as shown in the figure. In the same figure we have a typical application circuit for this component whose characteristics are as follows:
Features:
* Maximum voltage between input and output: 125 V
* Maximum dissipation: 20 W
* Maximum output current: 700 mA
* Reference voltage: 1.27 V (tip)
* Minimum output current: 15 mA




