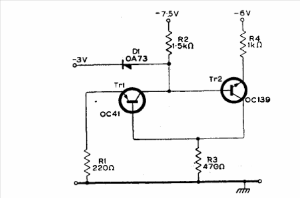
This circuit uses complementary transistors and was found in Mullard's transistor application manual from 1960. The circuit can be designed with modern transistors.

This circuit uses complementary transistors and was found in Mullard's transistor application manual from 1960. The circuit can be designed with modern transistors.
