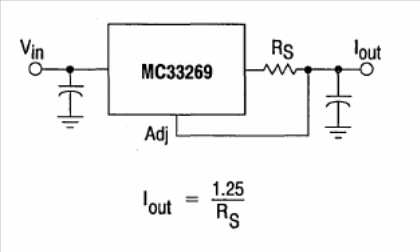
The maximum current of this Motorola LDO is 1 A. The formula next to the diagram makes it possible to calculate Rs for the desired current. The circuit is from Motorola's 1993 Linear Interface ICs.

The maximum current of this Motorola LDO is 1 A. The formula next to the diagram makes it possible to calculate Rs for the desired current. The circuit is from Motorola's 1993 Linear Interface ICs.
