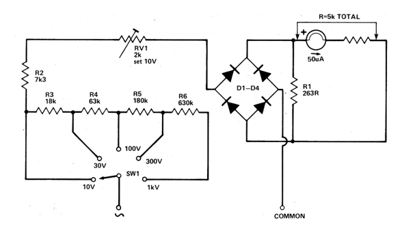
This circuit measures alternating voltages on 5 scales and its accuracy depends on the tolerance of the resistors. The diodes must be germanium. The circuit was found in 1979 English documentation.

This circuit measures alternating voltages on 5 scales and its accuracy depends on the tolerance of the resistors. The diodes must be germanium. The circuit was found in 1979 English documentation.
