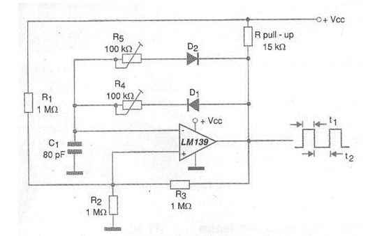
There are certain applications where it is necessary to generate a rectangular signal whose active cycle is not exactly 50%. Although there are solutions using integrated circuits such as 555, 4093 and others, it may be that at any given moment the integrated circuit that the reader has at hand is precisely the LM139 or others in the same family. The solution is shown in the circuit in the figure and the operating frequency is basically given by C1 and the adjustment of the two trimpots. The two trimpots will determine the active cycle, controlling the exit time at the high level and the time at the low level. The oscillator is nothing more than a relaxation setting, and the frequency can reach a few megahertz.




