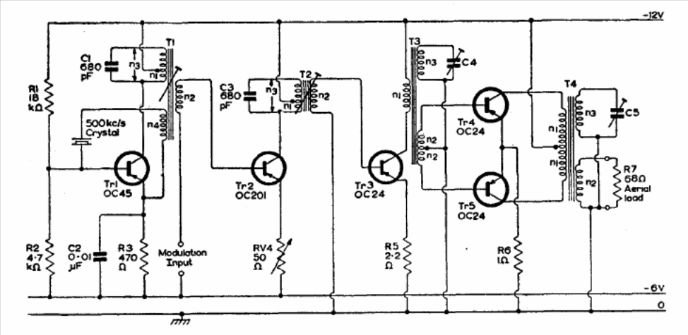
The coils of this circuit will determine the transmission frequency of this device. The circuit is from the 1960 Mullard transistor reference manual and makes use of germanium transistors.
Found in a 1970 EEE, this circuit uses general-purpose transistors of the time. Transistors support...
The Texas Instruments PLLatinum ™ synthesizer can be obtained from Mouser Elecgtronics to generate...
The purpose of this circuit is to trigger an oscillator with the light of dawn. The tone of the...