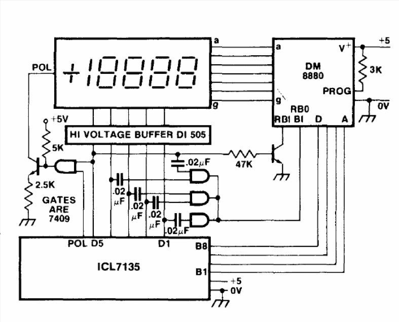
This circuit is from the 1983 Intersil Databook. The display is plasma and must be excited by a high voltage circuit. The components used in this configuration are not common today.
This circuit is from an English publication of 1982. The bipolar transistor can be a BC548 and the...
This circuit has a load connected to the ground providing 5 W of power at 16 ohms. The circuit is from...
ON Semiconductor AMIS−3910XGEVB Evaluation Board demonstrates the features and capabilities of the...