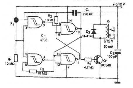
The difference in the circuit shown in the figure, in relation to the CIR8144r, is that it uses a sensor only to turn a relay on and off. With one touch the relay is activated and with a new touch the relay is deactivated. In this circuit we have a slightly different flip-flop in which the network formed by R2, R3 and C1 determines a bistable action with only one sensor. The relay must have a coil according to the supply voltage and maximum current of 50 mA. The resistor R1 may have its value increased for more sensitivity and the sensor is the same as the previous design. Batteries or batteries must be used for power. If a source is used it must be isolated from the power grid.




