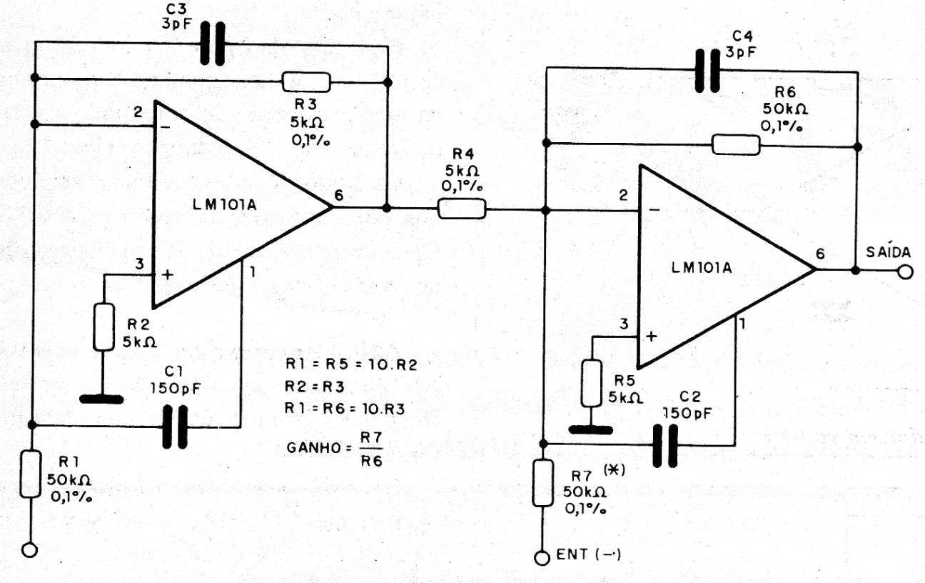
The gain of this amplifier is given by the components indicated in the formulas next to the diagram. The power supply must be symmetrical and equivalent operational amplifiers can be used.
This circuit is from an old English documentation. It uses a common milliammeter to indicate the...
An input polarization resistor typically of 22 k is used, which serves as a load for the exciter...
This circuit was found on a 1974s Radio Elettronica (Italy). The circuit can still be assembled today...