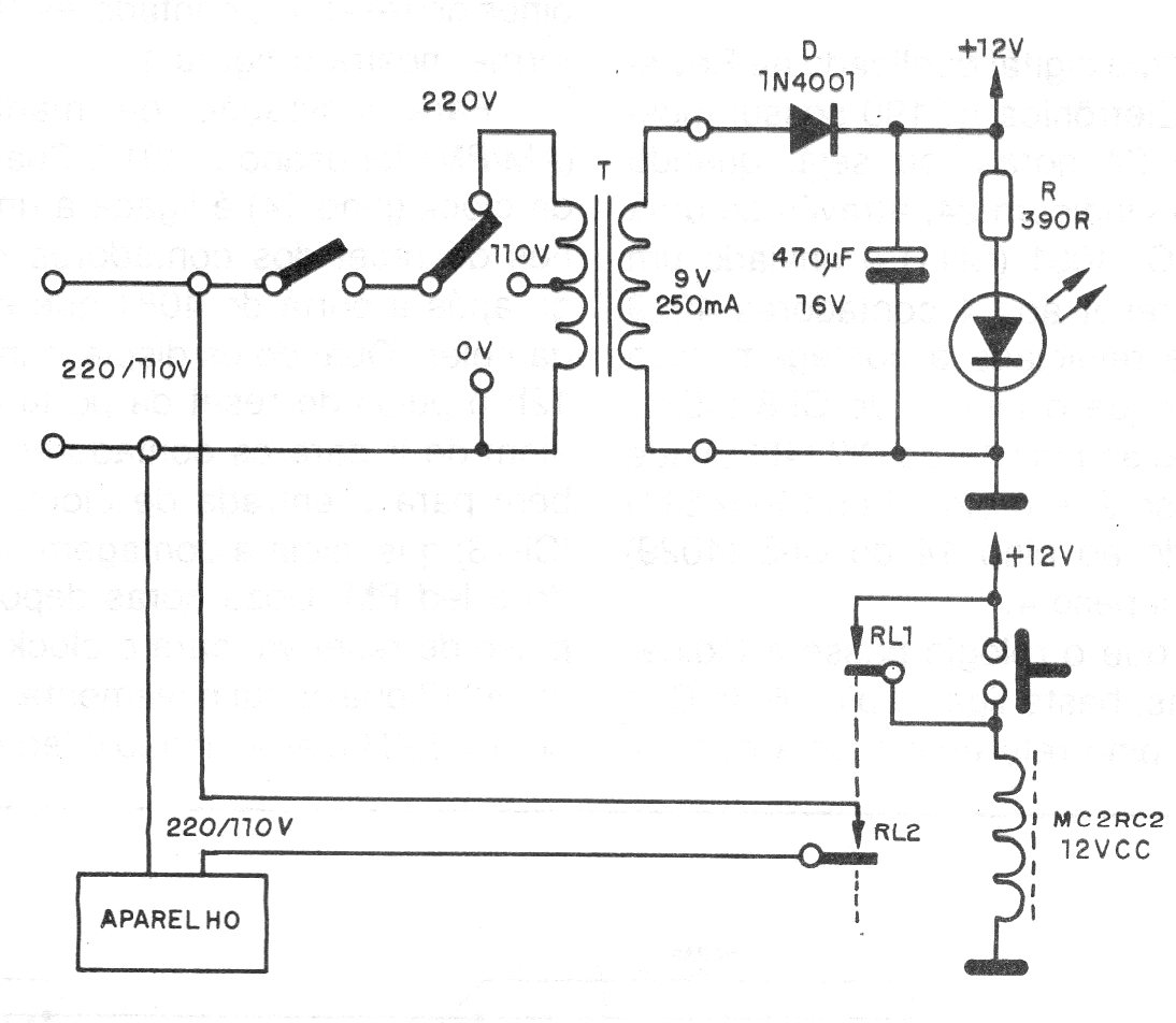
After a power cut, the arrival of power can be accompanied by dangerous transients and outbreaks for the powered devices. Thus, it is convenient that they are only rewired after some time after the energy is restored. This is precisely the purpose of this device. When the power returns, it is only activated when the operator presses the pressure switch.




