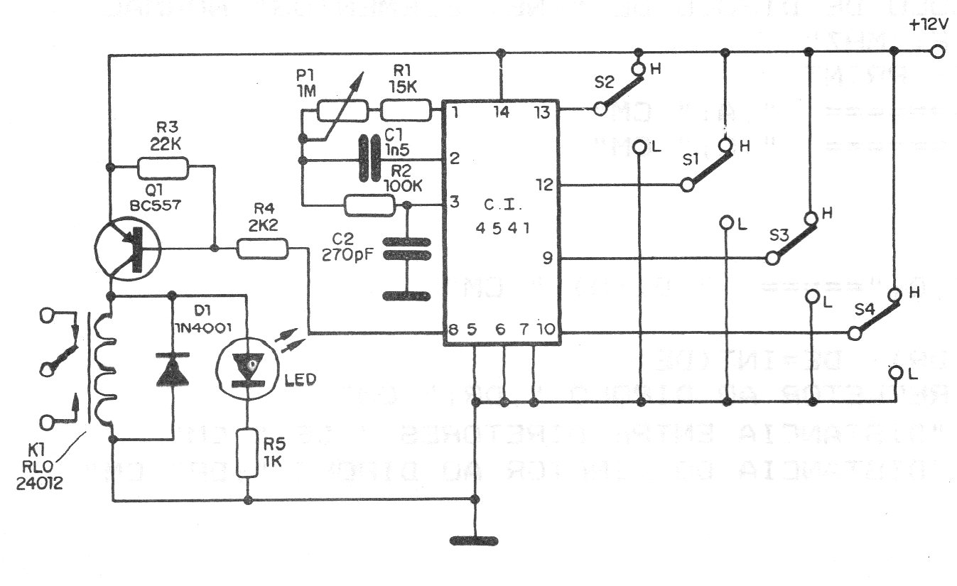
This circuit has four-time programming keys, according to the table given next to the diagram. The circuit must be powered by voltage according to the relay and the adjustment of the time scales can be done through P1.

This circuit has four-time programming keys, according to the table given next to the diagram. The circuit must be powered by voltage according to the relay and the adjustment of the time scales can be done through P1.
