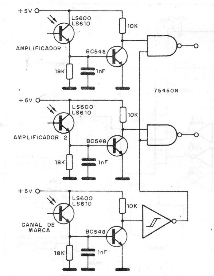
In this circuit, the transistors are NPN for general use and the phototransistors can be replaced by equivalents. The circuit is suggested by Texas Instruments for interfacing TTL circuits. The strobe signal comes through the brand channel.
In this circuit, the transistors are NPN for general use and the phototransistors can be replaced by equivalents. The circuit is suggested by Texas Instruments for interfacing TTL circuits. The strobe signal comes through the brand channel.