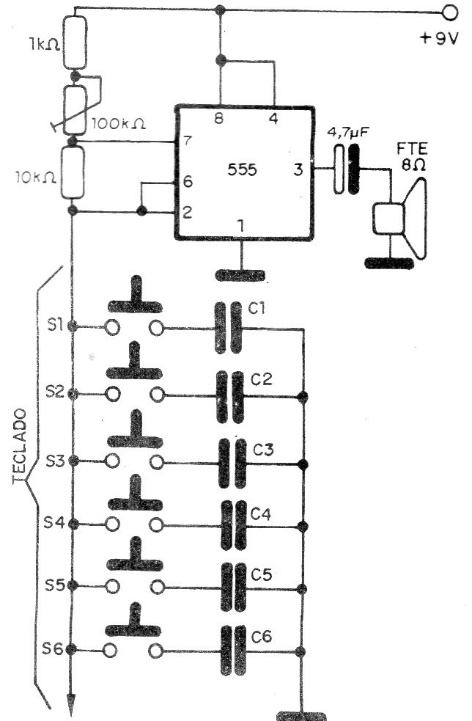
This toy musical instrument has the notes given by the capacitors on the keyboard. The circuit can be powered by 4 batteries or 9 V from one battery. The speaker is small, and an approximate adjustment is made by the trimpot.

This toy musical instrument has the notes given by the capacitors on the keyboard. The circuit can be powered by 4 batteries or 9 V from one battery. The speaker is small, and an approximate adjustment is made by the trimpot.
