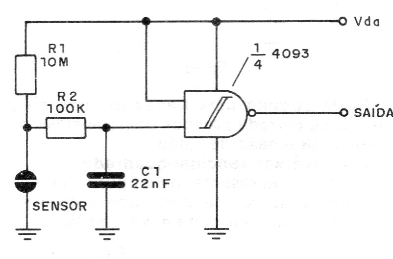
In the figure we have a very sensitive touch switch circuit. A touch of the sensor causes the output to be put to the HI level for a time that depends on C1. For reverse operation we can change places R1 and the sensor, inverting them.
In the figure we have a very sensitive touch switch circuit. A touch of the sensor causes the output to be put to the HI level for a time that depends on C1. For reverse operation we can change places R1 and the sensor, inverting them.