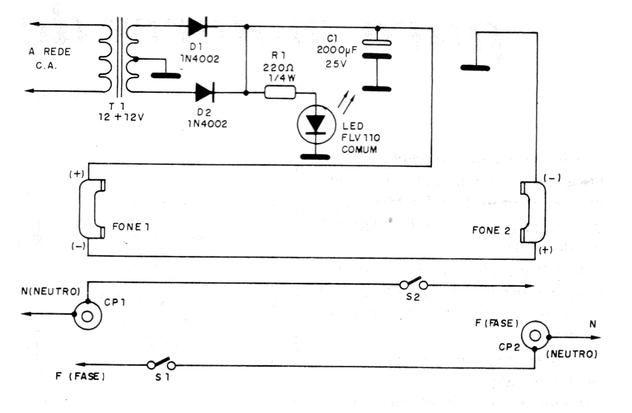
This circuit shows how we can take advantage of two old phones in a simple communication system. The circuit also includes two cicadas for the call. The distance between the wires can be a few tens of meters. Calls are made by pressing S1 and S2. We found this circuit in a 1992 documentation.




