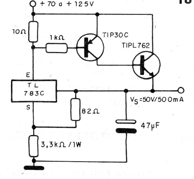
This circuit is based on an integrated TIPL62 from Texas Instruments, uncommon today and an integrated TL783C. The circuit accepts inputs from 70 to 125 V and has a maximum output current of 500 mA. The output can be adjusted between 1.25 and close to the input voltage value.




