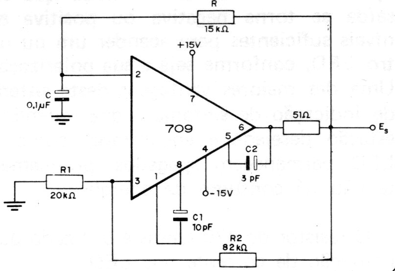
The operational amplifier 709 used in this circuit is no longer common today, but modern equivalent types can be used. The circuit requires a symmetrical source and the frequency basically depends on the value of the capacitor used.
The operational amplifier 709 used in this circuit is no longer common today, but modern equivalent types can be used. The circuit requires a symmetrical source and the frequency basically depends on the value of the capacitor used.