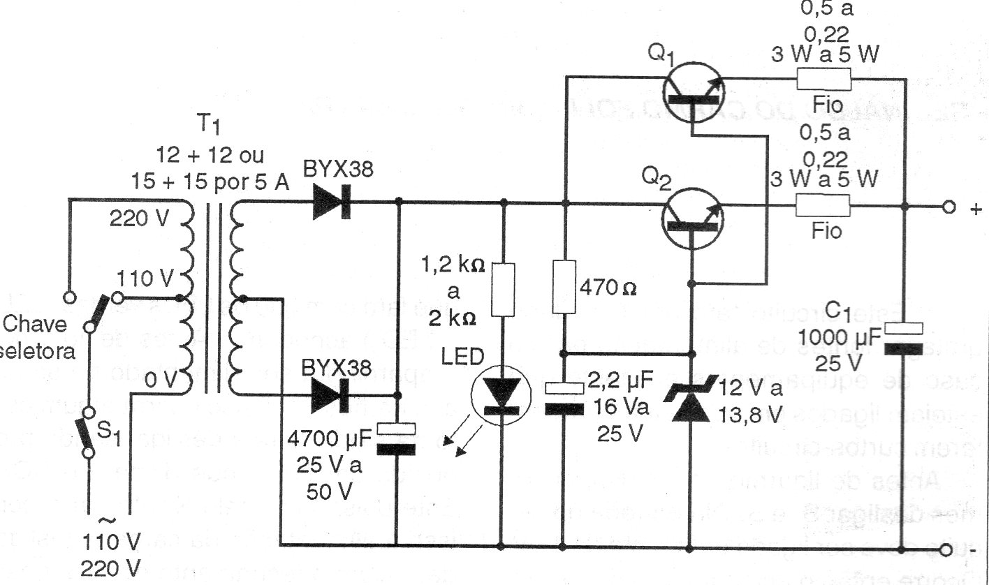
This conventional power supply uses discrete components and can provide 12 V or 13.6 V output with a maximum current of 5 A. The transistors must be equipped with heat sinks and the transformer is 12 or 15 V.
This conventional power supply uses discrete components and can provide 12 V or 13.6 V output with a maximum current of 5 A. The transistors must be equipped with heat sinks and the transformer is 12 or 15 V.