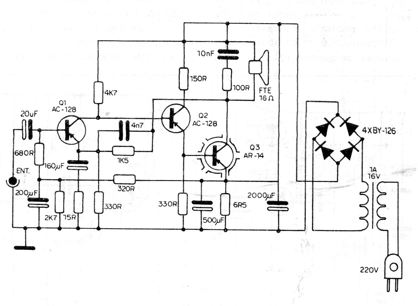
This unusual amplifier configuration is from 1986. The circuit has a high resting current given the non-complementary output and the transistor used must be equipped with a heat sink. This output transistor can be replaced with a TIP42. The transformer is 12 V with 2 A of current.




