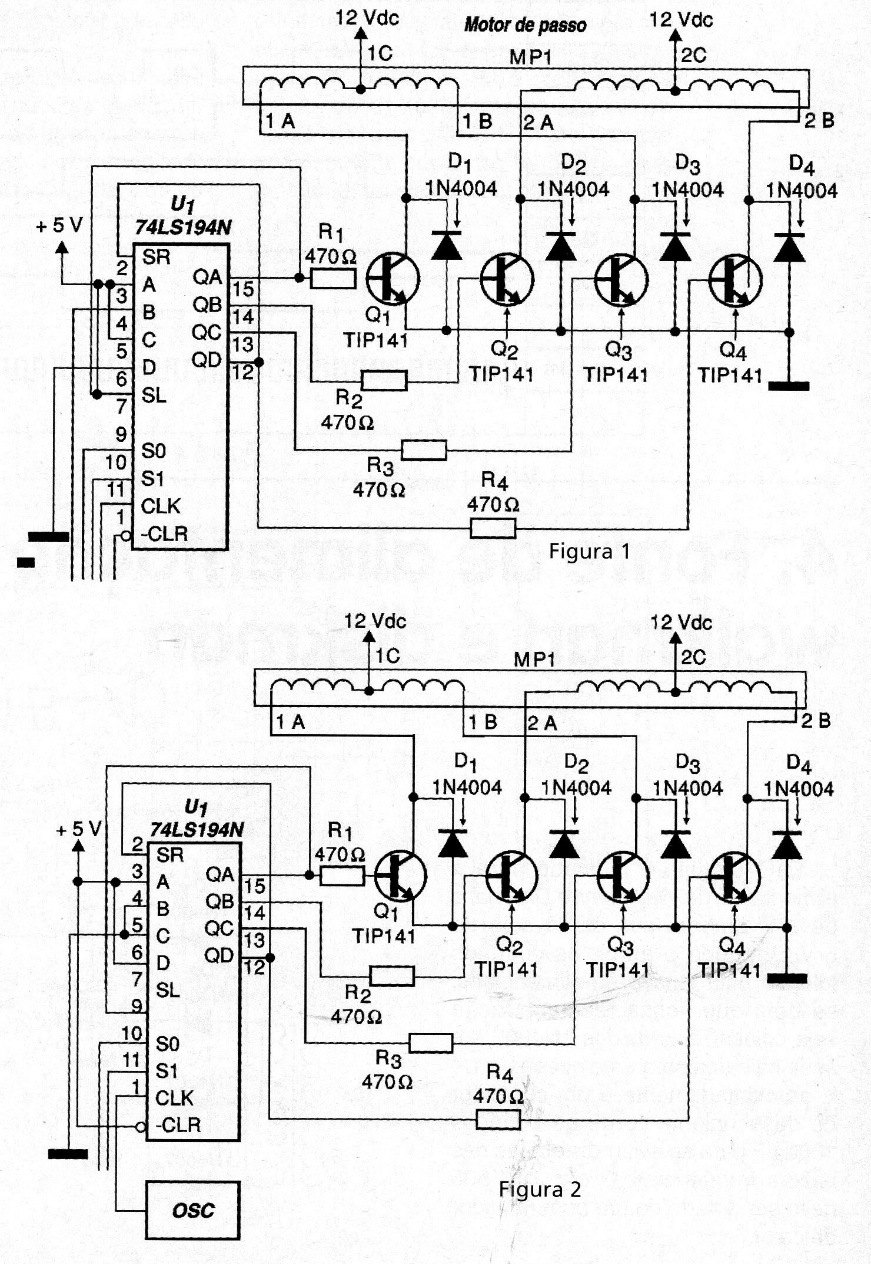
We found this circuit in a 2002 publication. It can be easily adapted to operate as a shield for microcontrollers. The circuit controls stepper motors in both directions, as indicated in the tables. Power transistors must be provided with heat sinks. In the circuit in figure 1 we have 5 control lines and in figure 2, a simplified version.





