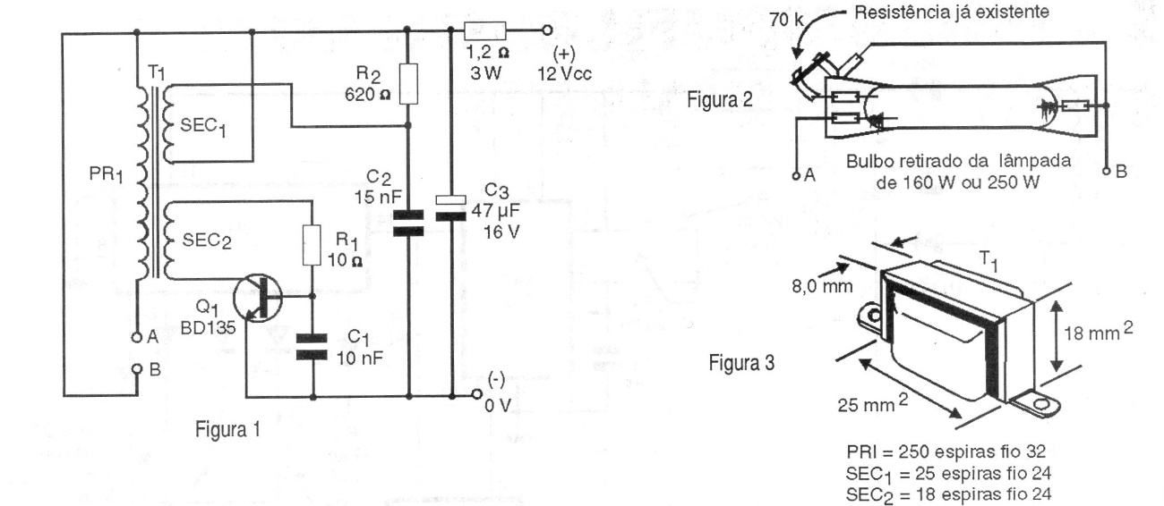
Applying a high voltage to a mixed lamp can obtain a bluish light with a decorative effect. This is what this 1997 circuit proposes, using a small inverter powered by a voltage of 12 V. The transformer has its data in the figure itself and the way of connecting to the lamp.




