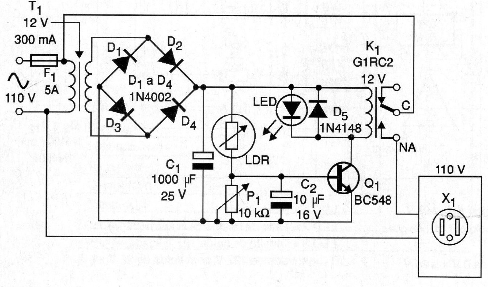
The idea of this 2002 circuit is to turn on a coffee maker automatically at dawn. The sensor is an LDR that must have the actuation point set to P1. The LDR should be in a tube pointing to the sky to detect the light of dawn and not the light of local illumination. The relay must be live according to the coffee maker.




