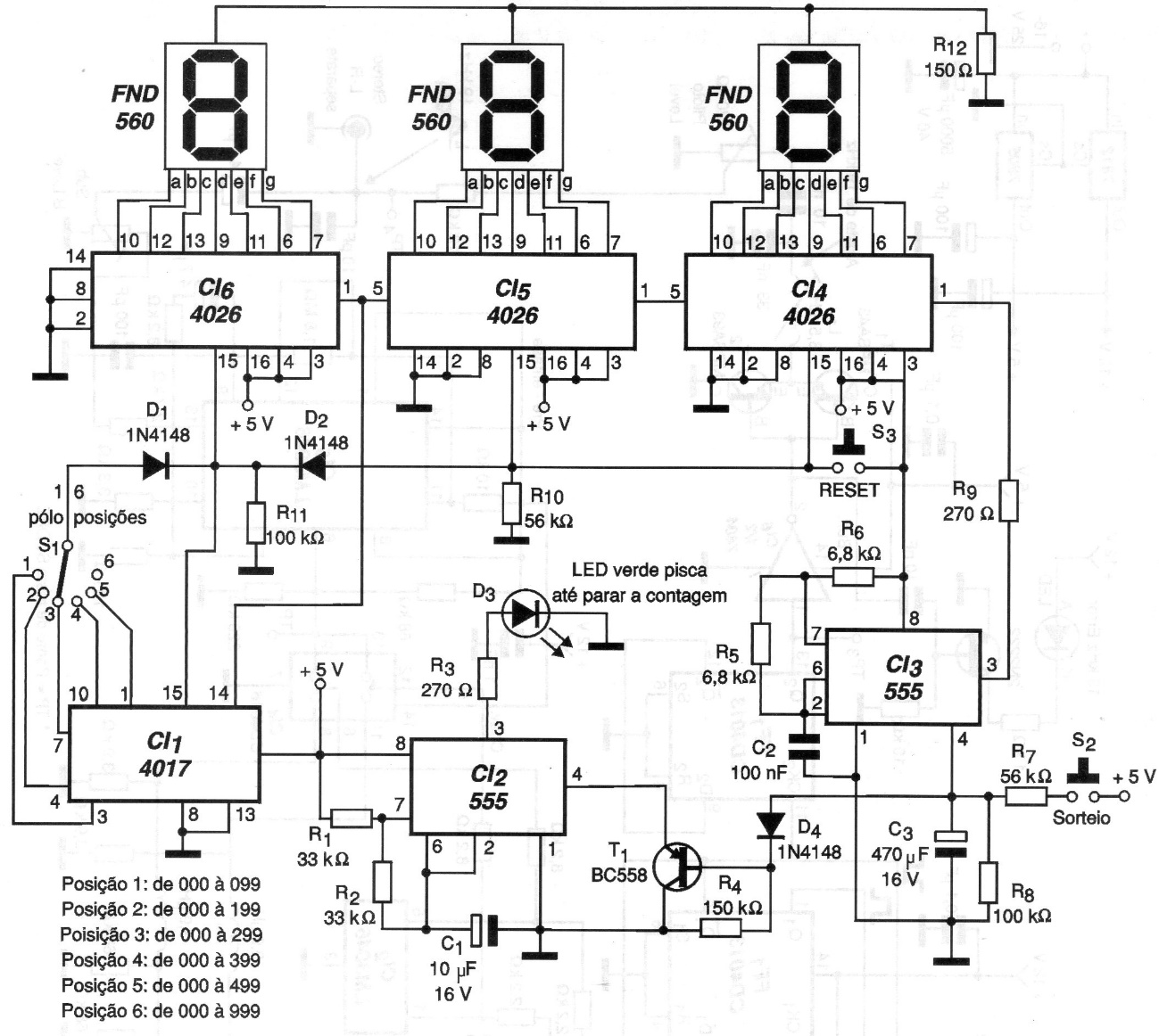
This electronic roulette has several draw options depending on the position of the selector switch. The 3-digit circuit is from 2001 documentation and must be powered by a voltage of 5 V. The displays are of common cathode and the source must be stabilized with at least 500 mA.




