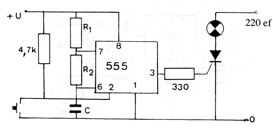
In the figure we show how to use a 555 to control an SCR or another type of thyristor. Resistors R1, R2 and C depend on the desired command mode and the supply must be between 5 and 15 V. The circuit is from an old documentation.
In the figure we show how to use a 555 to control an SCR or another type of thyristor. Resistors R1, R2 and C depend on the desired command mode and the supply must be between 5 and 15 V. The circuit is from an old documentation.