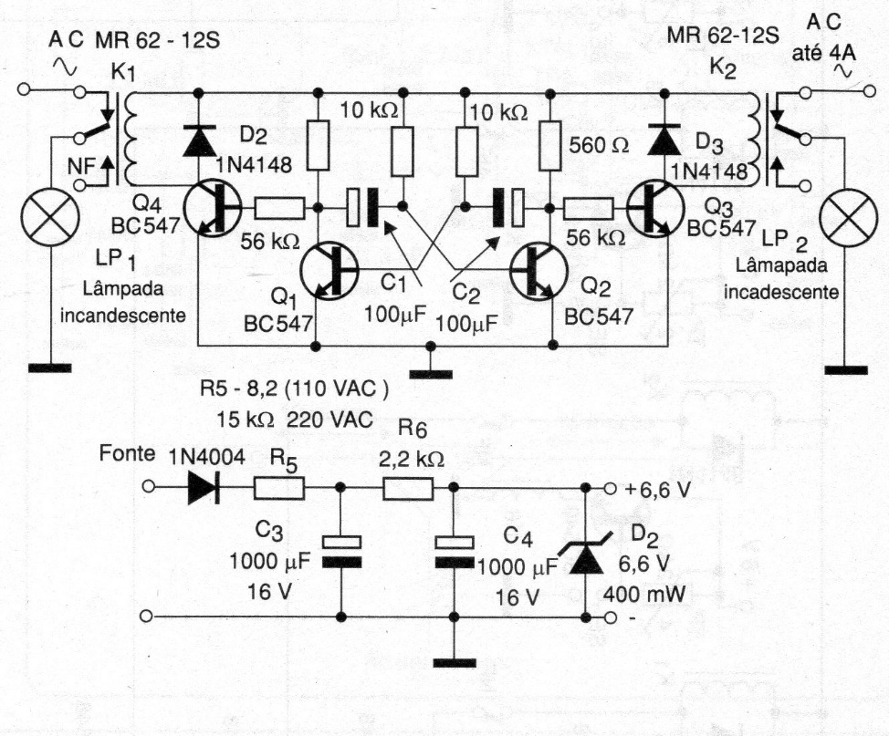
This common circuit using a multivibrator causes two lamps to alternately flash at a frequency and active cycle determined by the capacitors. The circuit is powered by 6 V which is the voltage of the relays used.
This common circuit using a multivibrator causes two lamps to alternately flash at a frequency and active cycle determined by the capacitors. The circuit is powered by 6 V which is the voltage of the relays used.