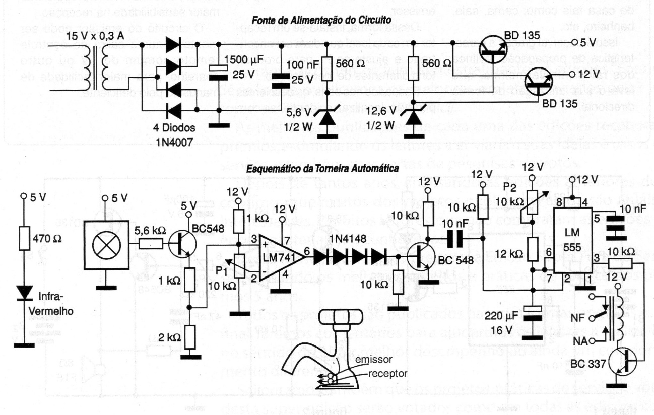
This is a very interesting automation that can be adapted for other types of applications. In fact, the sensor can be used to detect the passage of objects on a conveyor and activate an automatic washing system or another type of actuator, depending on the application. The way in which the various elements of this circuit were used can serve as a basis for many other projects. We observed that the sensor is of any type of three terminals, normally found in remote control systems. Another point of improvement in the project is the exchange of discrete regulators for regulators 7805 and 7812 in the power supply.




