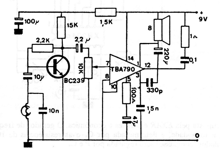
We found this telephone amplifier in a European publication from the 1980s. The transistor can be the BC549 and the integrated amplifier can be of more modern types like the TDA7052 or other. The circuit is powered by battery or source. The pickup coil must have at least 5,000 turns of enameled wire.




