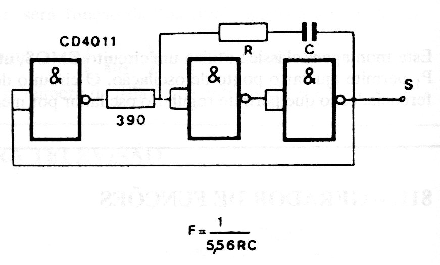
This configurable CMOS configuration for frequencies up to a few megahertz was obtained in an integrated-circuits manual and explored at different points on this site. The pinout of the 4011 is also found elsewhere on the site and the 4001 can also be used.




