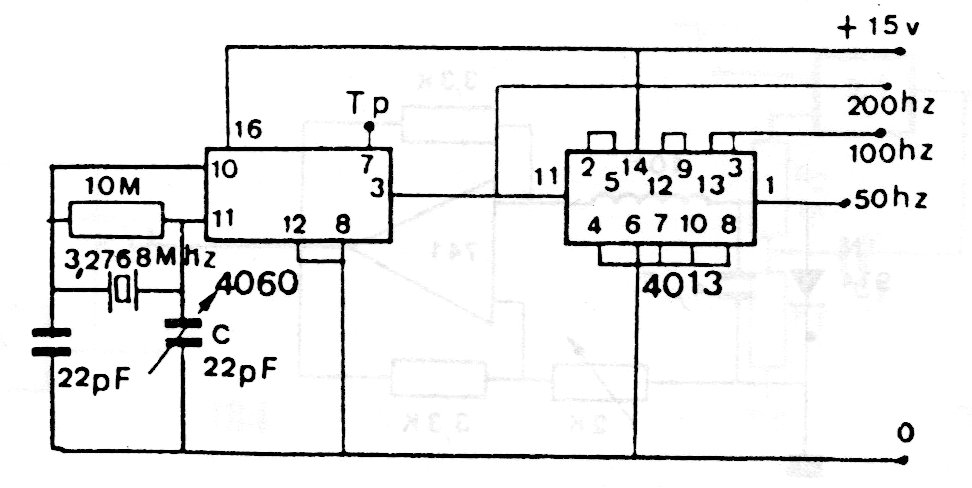
This circuit provides precise signals of three frequencies, using CMOS technology. The integrated circuits used are still common. The crystal can be obtained from old televisions and other applications that have this component at the indicated frequency.




