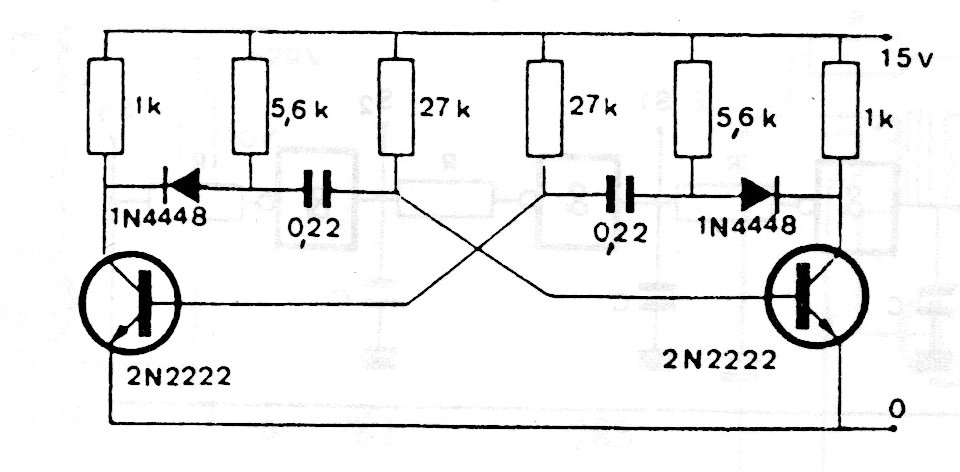
This configuration, which appears elsewhere on this site, was found in documentation from the 1980s. The circuit can be implemented with equivalent transistors, such as BC548, and the frequency depends on the capacitors. The power can be changed within a certain range of values.




